U. S. Patent
May 30, 1995

Sheet 1 of 8
5,420,965

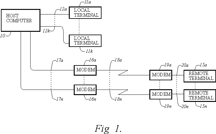
Figure 1 drawing, 5,420,965